Nombre Parcourir:0 auteur:Éditeur du site publier Temps: 2022-05-25 origine:Propulsé
Conception de la chaîne de cisaillement de l' aile en caoutchouc de type cellulaire
Lorsque le navire accoste au quai, la plupart des navires entreront d'abord en collision avec le quai à 1/3 et 1/4 de longueur de la proue ou de la poupe.En tant qu'équipement anti-impact du quai, la défense en caoutchouc doit supporter non seulement la force d'impact normale perpendiculaire au mur du quai du quai, mais également la force tangentielle parallèle au mur du quai du quai.Dans des conditions normales de fonctionnement, la défense en caoutchouc de type cellulaire peut résister à la force tangentielle du navire.Cependant, lorsque la déformation par cisaillement du tube de garde-boue en caoutchouc dépasse les exigences spécifiées, la chaîne de cisaillement doit empêcher la déformation par cisaillement du tube de garde-boue en caoutchouc.Par conséquent, la chaîne de cisaillement joue un rôle important pour assurer le fonctionnement normal et les performances raisonnables du garde-boue à tambour.
La méthode de conception de la chaîne de cisaillement des ailes en caoutchouc du tambour est présentée ci-dessous.
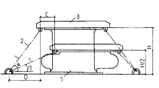
La chaîne de cisaillement est généralement disposée des deux côtés de la défense en caoutchouc, avec une extrémité fixée sur la plaque anti-choc et l'autre extrémité fixée sur le mur de quai (Figure I).La chaîne de cisaillement adopte généralement une chaîne ordinaire, ses spécifications et sa quantité sont déterminées par les spécifications du garde-boue en caoutchouc, la disposition du garde-boue en caoutchouc et la taille de la plaque anti-impact.

Je figure
Le principe de conception de la chaîne de cisaillement est de garantir que la déformation par cisaillement de la défense en caoutchouc cellulaire ne dépasse pas les exigences spécifiées dans les conditions d'accostage les plus défavorables.On suppose que le taux de déformation de conception de la défense en caoutchouc du tambour est de 50 % et que la déformation de cisaillement admissible est C. Comme le montre la figure 2
C : Déformation admissible par cisaillement d'une défense en caoutchouc de type tambour ;
D : projection horizontale de la chaîne de cisaillement sur le mur de quai de la défense en caoutchouc dans des conditions de déchargement ;
H : hauteur du garde-boue en caoutchouc du tambour.
La chaîne de cisaillement de l'aile en caoutchouc de type cellulaire doit être disposée horizontalement des deux côtés de l'aile en caoutchouc
La longueur l est calculée selon la formule.Une extrémité est fixée sur la plaque anti-impact et l'autre extrémité est fixée sur le joint en U intégré